Opis
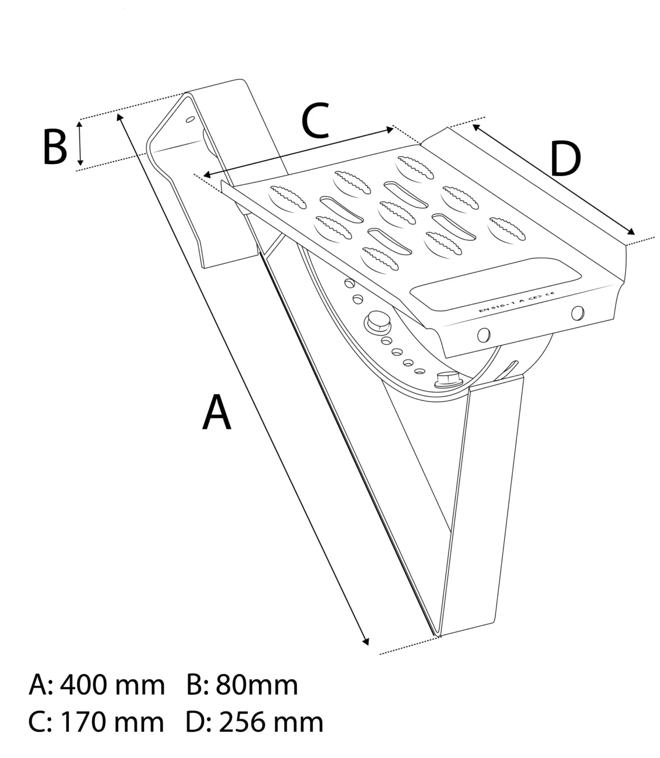
STOPIEŃ KOMINIARSKI 400/80 mm
STEP SET DB-DC SHORT
Kompletny zestaw montażowy, składający się ze wspornika Eurovent® SUPPORT oraz stopnia kominiarskiego Eurovent® STEP. Elementy wykonane są ze stali ocynkowanej i stanowią część systemu umożliwiającego bezpieczne poruszanie się po połaci dachowej o nachyleniu od 15° do 60°. Stopień wyposażony jest na całej powierzchni w tłoczenia antypoślizgowe oraz praktyczny uchwyt pod rękę. Produkt dostępny jest w kilku wersjach kolorystycznych, malowanych proszkowo zgodnie z paletą RAL.
Najważniejsze cechy produktu:
Kompletny zestaw gotowy do montażu
Zgodność z normą EN 516
Podwójna ochrona antykorozyjna
Odporność na promieniowanie UV i warunki atmosferyczne
Przeznaczony do pokryć dachowych z dachówek zakładkowych o zużyciu pow. 10 szt./m2 oraz karpiówek układanych w łuskę.
Dane techniczne:
Materiał: stal ocynkowana lakierowana
Rozmiar 170 x 256 mm
Ral: 3004 , 3009 , 3011 , 8004 , 8017 , 8019 , 7016 , 7024 , 9005
Dołączony komplet śrub
Zastosowanie: komunikacja dachowa
Zastosowanie:
Stopień kominiarski Eurovent® STEP SET DB-DC SHORT przeznaczony jest do zastosowania jako element komunikacji dachowej, zapewniający bezpieczne i wygodne poruszanie się kominiarza w rejonie komina. Zestaw obejmuje dwa kompletne stopnie oraz wszystkie niezbędne elementy montażowe do ich instalacji. Dzięki szerokiemu wyborowi wsporników możliwe jest dopasowanie produktu do niemal każdego rodzaju pokrycia dachowego. Rekomendowany montaż na połaciach dachowych o nachyleniu od 15° do 60°.
⚠️ Ważne!
Podczas montażu należy przestrzegać zaleceń producenta.
Dlaczego warto?
Wysoka odporność na warunki atmosferyczne
Estetyczny wygląd i dostępność kolorów
Sprawdzony produkt renomowanej marki Eurovent®
Masz pytania? Skontaktuj się z nami – z chęcią doradzimy najlepsze rozwiązanie!











Opinie
Na razie nie ma opinii o produkcie.